El primer circuito LSI para LPWA (Low Power Wide Area) en modo dual es compatible con los estándares de comunicación inalámbrica Sigfox e IEEE802.15.4k y multiplica hasta por 10 su distancia de transmisión para equipos de Internet de las Cosas.
LAPIS Semiconductor, una compañía del Grupo ROHM, acaba de anunciar la disponibilidad de un circuito LSI de RF optimizado para LPWA (Low Power Wide Area) que está llamado a marcar el inicio de una nueva era para las comunicaciones inalámbricas en el entorno de Internet de las Cosas IoT.
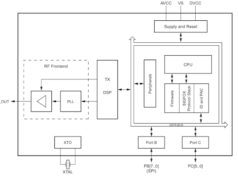
El ML7404 es el primer LSI de comunicación inalámbrica en el mercado que incorpora funcionalidad para LPWA en modo dual y es compatible con el estándar Sigfox (LPWA basado en suscripción que utiliza bandas sin licencia por debajo de 1 GHz), que ha sido adoptado en más de 30 países y se extiende en áreas metropolitanas de Japón, y con el protocolo internacional IEEE802.15.4K caracterizado por su extrema robustez frente a interferencias del mismo sistema y por su capacidad para cubrir más terminales en una sola red. Esta capacidad de modo dual permite su uso en una gran variedad de aplicaciones/
especificaciones.
Los módulos de comunicación que incorporan este dispositivo serán presentados por compañías colaboradoras para simplificar el desarrollo de dispositivos compatibles con LPWA que contribuyen a aumentar la adopción de IoT. Además, la pila de protocolo para IEEE802.15.4k se suministrará como código abierto a través de nuestros distribuidores.
Durante los últimos años, la LPWA que utiliza la banda por debajo de 1 GHz (que no necesita licencias de RF) está atrayendo la atención de las aplicaciones para IoT. Sin embargo, el protocolo de comunicación varía entre países y regiones ya que aún no se ha estandarizado una técnica para las diversas redes IoT.
Complemento al circuito LSI para LPWA
LAPIS Semiconductor ya había anunciado previamente otros LSI de comunicación inalámbrica para estaciones de base de radio de bajo consumo por debajo de 1 GHz y superiores a sus competidores, con el fin de lograr un mundo más inteligente a través de IoT. Esta vez, ha desarrollado un dispositivo LPWA compatible con múltiples técnicas y que facilita el lanzamiento de redes IoT y el despliegue efectivo de aplicaciones y servicios.










